|
クリックで拡大写真↓ |
|
 |
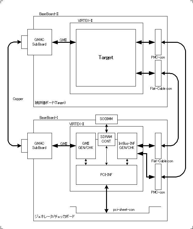
・作成した評価システムの概略図です. (ホームページでは情報を抑えています.)
・2枚のIPMate-PCI-VX2と,Marvell-PHY-DaughterCardを使用しています.
・図中,上のIPMateのFPGAに評価ターゲットを実装し,下のIPMateに評価ターゲットを終端するためのGeneratorとCheckerを搭載しています.
・Generator/Checker側のボードは,単体で10/100/1000Mのネットワークアナライザの機能を持っています.
|
|
 |
・Generator/Checker側のボードです.
・IPMate-PCI-VX2にMarvell-PHY-DaughterCardと市販SODIMM-SDRAM(128MByte)を実装してあります.
・FPGAの上側の2つのPMCコネクタが実装してあります.
・FPGAの下側の上段に100pinフラットケーブル用コネクタが実装してあります.
・PMCコネクタと100pinフラットケーブルコネクタにより,PCI32バスとは別に,基板間で155pinの接続を確保しています.
|
|
 |
・PMCコネクタの拡大写真です.
・AMP社120521-1コネクタを実装しています.(対向側は120527-1)
・2個のコネクタとFPGA間で81本の接続があります.
|
|
 |
・PCIスロットの64bitバス時に拡張となる側の信号を経由しているコネクタに,ヒロセ(HIF6A-100DA-1.27DSA)を搭載しています.
・FPGA間と74本の接続があります.
・下側のコネクタのランドには,PCI32bit用の信号が経由しているため,開放のままとなっています.
・PCI32用の信号も,PCI以外の目的に,ユーザが自由に定義できます.
|
|
 |
・Generator/Checkerボードとターゲットボードを接続するための延長コネクタ(PMCコネクタ)です.
・レアボードからコネクタ部分を切り取って特注に対応しています.
|
|
 |
・PMCの延長コネクタを2段重ねた写真です.
・この延長コネクタを2段挿入することにより,基板間に33mmの間隔を確保しています.
|
|
 |
・IPMate-PCI-VX2のレアボードを切り抜いて作成しているため,パターンのバリによるショートの有無を確認したときの顕微鏡写真です.(8倍)
|
|
 |
・基板断面を拡大した顕微鏡写真です.(20倍)
・#1000番の砥石で研磨することできれいにバリがとれています.
・8層基板であることがわかります.
・層間隔は基板中央に対して上下シンメトリックですが,均等ではないようです.推測ですが,薄い板の張り合わせ枚数によって,トータルの基板厚を調整しているのでしょう.
(GND層とでインピーダンスマッチングを行うときは,基板屋さんとの打ち合わせが必要ですね.)
|
|
 |
・ヒロセ(HIF6A-100DA-1.27DSA)のコネクタに挿入して2枚のIPMateを接続し,電源および74本の信号の受け渡しを行います.
・50pinのノーマルピッチフラットケーブルを2枚平行して連結しています.
|
|
 |
・PCI64の拡張側のピンに平行定義されたピンを2枚の基板間の信号の受け渡し用として使うため,マザーボードとの接続をPCI32bitだけにするための引き延ばしボードです.
・サンハヤトのユニバーサル基板のシートコネクタ部分を切り取って,最短の接続となるようにしてあります.
|
|
 |
・引き延ばしボードの拡大写真です.
|
|
 |
・Generator/Checker側となるIPMateに延長コネクタ,引き延ばしボードを実装した状態の写真です.
|
|
 |
・2枚の基板を安定固定するためのスペーサです.
・20mmスペーサ + 10mmスペーサ
+ 3mmNutで33mmの間隔を確保しています.
|
|
 |
・2枚の基板をスタックさせた写真です.(PCIコネクタ側からのView)
|
|
 |
・2枚の基板をスタックさせた写真です.(PMCコネクタ側からのView) |
|
 |
・PMCコネクタ部分の接続の拡大写真です.
|
|
 |
・2枚の基板をスタックさせた写真です.(斜め下からのView)
・スタックの状態がよく判ります.
|
|
 |
・2枚の基板をスタックさせた写真です.(上からのView)
|
|
 |
・スタックさせた基板をOpenRackに実装した写真です.
・引き延ばしボード分,評価基板が底上げされ,かつ,ボードの重さで不安定となりますので,基板固定部分を専用に制作実装してあります.
・フレームの土台は玄人志向の"ど根性試し用まな板"です. |
|
 |
・評価ボードと汎用ボードがそれぞれの高さの基板固定部分で固定されています.
|
|
 |
・横からの写真です.
|
|
 |
・斜め後ろからの写真です.
・フレームはL字金具で固定されており,基板もしっかりと固定されています.
|
|
 |
・評価ボードとMotherBoardとの接続箇所の写真です.
・フラットケーブルが前面の基板のPCIのシートコネクタ部分を迂回してヒロセ(HIF6A-100DA-1.27DSA)のコネクタに接続されています.
|
|
 |
・固定部分が2段になっているのが判ります.
・手前にAGPボード,奥側に評価ボードが実装されています.
|
|
 |
・固定部分の拡大写真です.
|
|
 |
・制御ソフトウェアを立ち上げて,Snifferとの間で接続確認を行っている写真です. |
|
 |
・Generator/Checker側の制御画面です.
・解説は割愛します.じっくりと見て推測して下さい.
|
|
|
本製品は,一見,単なるPCI評価ボードのようにみえますが,創意,工夫で色々な使い方が可能になります.他にもIPMate-ARMINT-VX2もあります.ARM社のIntegrator/APボードに実装するだけのボードではなく,同じく創意・工夫でその適用用途は無限に広がります.これらのボードを適材適所に使い分け,皆様の研究・開発・評価に費やされる費用,工数の削減にお役に立てればと願っております.
|